Поиск по сайту:

 


По базе:  

микроэлектроника, микросхема, транзистор, диод, микроконтроллер, память, msp430, MSP430, Atmel, Maxim, LCD, hd44780, t6963, sed1335, SED1335, mega128, avr, mega128  

Микросхемы - DOC - ЖКИ - Источники питания - Электромеханика - Интерфейсы - Программы - Применения - Статьи


 
  • Analog Devices
  • Atmel
  • Cypress
  • Fujitsu
  • Holtek
  • MagnaChip
  • Maxim
  • Megawin
  • Freescale
  • NXP
  • Texas Insrt
  • White Eleсtronic
  • Winbond

  •  

    реклама

     
     


     Разное:
     










    Главная страница > Обзоры по типам > Микроконтроллеры > MCS-51 > Архитектура


    Архитектура микроконтроллеров MCS-51

    Архитектура семейства MCS-51 в значительной мере предопределяется ее назначением - построение компактных и дешевых цифровых устройств. Все функции микроЭВМ реализуются с помощью единственной микросхемы. В состав семейства MCS-51 входит целый ряд микросхем от самых простых микроконтроллеров до достаточно сложных. Микроконтроллеры семейства MCS-51 позволяют выполнять как задачи управления различными устройствами, так и реализовывать отдельные узлы аналоговой схемы. Все микросхемы этого семейства работают с одной и той же системой команд MCS-51, большинство из них выполняется в одинаковых корпусах с совпадающей цоколевкой (нумерация ножек для корпуса). Это позволяет использовать для разработанного устройства микросхемы разных фирм — Maxim, Atmel, NXP и т.д. (catalog.gaw.ru/index.php?page=components_list&id=39"> с.м. Поиск по параметрам) без переделки принципиальной схемы устройства и программы.

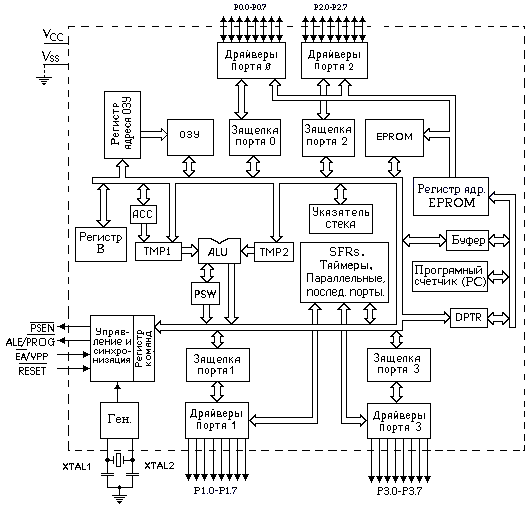
    Структурная схема контроллера 8051
    Рисунок 1. Структурная схема контроллера I8751

    Структурная схема контроллера представлена на рисунке 1. и состоит из следующих основных функциональных узлов: блока управления, арифметико-логического устройства, блока таймеров/счетчиков, блока последовательного интерфейса и прерываний, программного счетчика, памяти данных и памяти программ. Двусторонний обмен осуществляется с помощью внутренней 8-разрядной магистрали данных.

    Рассмотрим подробнее назначение каждого блока. По такой схеме построены практически все представители семейства MCS-51. Различные микросхемы этого семейства различаются только регистрами специального назначения (в том числе и количеством портов). Система команд всех контроллеров семейства MCS-51 содержит 111 базовых команд с форматом 1, 2 или 3 байта и не изменяется при переходе от одной микросхемы к другой. Это обеспечивает прекрасную переносимость программ с одной микросхемы на другую.

    Блок управления и синхронизации

    Блок управления и синхронизации (Timing and Control) предназначен для выработки синхронизирующих и управляющих сигналов, обеспечивающих координацию совместной работы блоков ОЭВМ во всех допустимых режимах ее работы.В состав блока управления входят:

    • - устройство формирования временных интервалов,
    • - логика ввода-вывода,
    • - регистр команд,
    • - регистр управления потреблением электроэнергии,
    • - дешифратор команд, логика управления ЭВМ.

    Устройство формирования временных интервалов предназначено для формирования и выдачи внутренних синхросигналов фаз, тактов и циклов. Количество машинных циклов определяет продолжительность выполнения команд. Практически все команды ОЭВМ выполняются за один или два машинных цикла, кроме команд умножения и деления, продолжительность выполнения которых составляет четыре машинных цикла. Обозначим частоту задающего генератора через Fг. Тогда длительность машинного цикла равна 12/Fг или составляет 12 периодов сигнала задающего генератора. Логика ввода - вывода предназначена для приема и выдачи сигналов, обеспечивающих обмен информации с внешними устройствами через порты ввода вывода Р0-Р3.

    Регистр команд предназначен для записи и хранения 8-ми разрядного кода операции выполняемой команды. Код операции, с помощью дешифратора команд и логики управления ЭВМ, преобразуется в микропрограмму выполнения команды.

    Регистр управления потреблением (PCON) позволяет останавливать работу микроконтроллера для уменьшения потребления электроэнергии и уменьшения уровня помех от микроконтроллера. Еще большего уменьшения потребления электроэнергии и уменьшения помех можно добиться, остановив задающий генератор микроконтроллера. Этого можно достичь при помощи переключения бит регистра управления потреблением PCON. Для варианта изготовления по технологии n-МОП (серия 1816 или иностранных микросхем, в названии которых в середине отсутствует буква 'c') регистр управления потреблением PCON содержит только один бит, управляющий скоростью передачи последовательного порта SMOD, а биты управления потреблением электроэнергией отсутствуют.

    Арифметико-логическое устройство (ALU) представляет собой параллельное восьмиразрядное устройство, обеспечивающее выполнение арифметических и логических операций. АЛУ состоит из:

    • - регистров аккумулятора, регистров временного хранения TMP1 и TMP2,
    • - ПЗУ констант,
    • - сумматора,
    • - дополнительного регистра (регистра В),
    • - аккумулятора (ACC),
    • - регистра состояния программ (PSW).

    Регистр аккумулятор и регистры временного хранения - восьмиразрядные регистры, предназначенные для приема и хранения операндов на время выполнения операций над ними. Эти регистры программно не доступны.

    ПЗУ констант обеспечивает выработку корректирующего кода при двоично-десятичном представлении данных, кода маски при битовых операциях и кода констант.

    Параллельный восьмиразрядный сумматор представляет собой комбинационную схему с последовательным переносом, предназначенную для выполнения арифметических операций сложения, вычитания и логических операций сложения, умножения, неравнозначности и тождественности.

    Регистр B - восьмиразрядный регистр, используемый во время операций умножения и деления. Для других инструкций он может рассматриваться как дополнительный сверхоперативный регистр.

    Аккумулятор - восьмиразрядный регистр, предназначенный для приема и хранения результата, полученного при выполнении арифметико-логических операций или операций сдвига

    Блок последовательного интерфейса и прерываний (ПИП) предназначен для организации ввода-вывода последовательных потоков информации и организации системы прерывания программ. В состав блока входят:

    1. - буфер ПИП,
    2. - логика управления,
    3. - регистр управления,
    4. - буфер передатчика,
    5. - буфер приемника,
    6. - приемопередатчик последовательного порта,
    7. - регистр приоритетов прерываний,
    8. - регистр разрешения прерываний,
    9. - логика обработки флагов прерываний и схема выработки вектора.

    Счетчик команд (Program Counter) предназначен для формирования текущего 16-разрядного адреса внутренней памяти программ и 8/16-разрядного адреса внешней памяти программ. В состав счетчика команд входят 16-разрядные буфер РС, регистр РС и схема инкремента (увеличения содержимого на 1).

    Память данных (RAM) предназначена для временного хранения информации, используемой в процессе выполнения программы.

    Порты P0, P1, P2, P3 являются квазидвунаправленными портами ввода - вывода и предназначены для обеспечения обмена информацией ОЭВМ с внешними устройствами, образуя 32 линии ввода- вывода.

    Устройство таймеров В базовых моделях семейства имеются два программируемых 16-битных таймера/счетчика (T/C0 и T/C1), которые могут быть использованы как в качестве таймеров, так и в качестве счетчиков внешних событий

    Регистр состояния программы (PSW) предназначен для хранения информации о состоянии АЛУ при выполнении программы.

    Память программ (EPROM) предназначена для хранения программ и представляет собой постоянное запоминающее устройство (ПЗУ). В разных микросхемах применяются масочные ПЗУ, стираемые ультрафиолетовым излучением или FLASH ПЗУ.

    Регистр указателя данных (DPTR) предназначен для хранения 16-разрядного адреса внешней памяти данных или памяти программ.

    Указатель стека (SP) представляет собой восьмиразрядный регистр, предназначенный для организации особой области памяти данных (стека), в которой можно временно сохранить любую чейку памяти.






    реклама


    радиационно стойкие ПЗУ Миландр






    Мероприятия:


    17-я международная выставка ChipEXPO - 2019

    реклама


     
    Впервые? | Реклама на сайте | О проекте | Карта портала
    тел. редакции: +7 (995) 900 6254. e-mail:info@eust.ru
    ©1998-2023 Рынок микроэлектроники