Поиск по сайту:

 


По базе:  

микроэлектроника, микросхема, микроконтроллер, память, msp430, MSP430, Atmel, Maxim, LCD, hd44780, t6963, sed1335, SED1335, mega128, avr, mega128  
  Главная страница > Схемы > Источники питания




Симисторные регуляторы мощности

    В радиолюбительской аппаратуре можно найти немало описаний различных регуляторов мощности и автоматических устройств, использующих в качестве выходного мощного ключа тринистор. Тринистор в цепи переменного тока неудобен тем, что требует питания через выпрямительный мост, и при большой мощности диоды моста должны быть установлены на радиаторы. Более удобен симистор.

    Симистор, как и тристор, имеет три электрода. Его основное отличие - возможность коммутации переменного тока. Ток через симистор может протекать в любом направлении - как от анода к катоду (как в тринисторе), так и в противоположную сторону.

    Симисторы серии КУ208 при положительном напряжении на аноде могут включаться импульсами любой полярности, подаваемыми на управляющий электрод относительно катода, а при отрицательном напряжении на аноде - импульсами только отрицательной полярности.

    Использование симисторов в регуляторах мощности и различных автоматических коммутаторах затруднено из-за необходимости обеспечения сравнительно большого тока управляющего электрода - 150 мА для симисторов серии КУ208. Управление симистором постоянным током требует большой мощности, а при импульсном управлении необходим формирователь, обеспечивающий короткие импульсы в момент прохождения сетевого напряжения через "нуль" и имеющий общий вывод с одним из сетевых проводов.

    В описываемом далее устройстве регулирование мощности в нагрузке осуществляется изменением числа полупериодов сетевого напряжения, подаваемого на нее в течение некоторого интервала времени, поэтому регулятор можно использовать для работы лишь с такими нагрузками, как, например, электроплитка, камин, паяльник с другими подобными электронагревательными приборами.

    Включение симистора происходит вблизи момента перехода сетевого напряжения через "нуль", что снижает уровень помех по сравнению с регуляторами, в которых использован фазоимпульсный метод регулирования.

    Приниципиальная схема регулятора приведена на рис. 1. Диоды VD1-VD2, стабилитрон VD3, конденсаторы С1-С3 и резистор R1 образуют источник питания устройства напряжением около 10 В (при максимальном выходном токе 18...20 мА). Оригинальным является формирователь импульсов частотой 100 Гц, выполненный на транзисторах VT1, VT2 и резисторах R2-R4. При положительном полупериоде транзистор VT1, включенный по схеме с общим эмиттером, открыт и насыщен - напряжение на его коллекторе близко к эмиттерному (транзистор VT2 закрыт). При отрицательном полупериоде закрыт транзистор VT1, но открыт и насыщен транзистор VT2, включенный по схеме с общей базой, и напряжение на его коллекторе имеет тот же знак и амплитуду.

Рис. 1. Принципиальная схема первого варианта симистора регулятора

    Лишь в моменты, когда сетевое напряжение по абсолютному значению меньше 40...50 В, оба транзистора закрыты и напряжение на их коллекторе близко к напряжению на выводе 7 микросхемы DD1. При этом разрешена работа генератора импульсов на элементах DD1.3, DD1.4. Импульсы частотой около 5 кГц с его выхода дифференцируются цепью C6R8, усилитваются транзистором VT3 и включают симистор VS1.

    Однако работой этого генератора управляет и генератор, собранный на элементах DD1.1 и DD1.2. Частота формируемых им импульсов - около 2 Гц, а скважность можно регулировать переменным резистором R5 от 1,01 до 100. В одном крайнем положении движка этого резистора на нагрузке выделяется почти полная мощность, а в другом - нагрузка обесточена.

    При напряжении низкого уровня на выходе элемента DD1.2 разрешена работа генератора на элементах DD1.3 и DD1.4, а при высоком запрещена. В результате при перемещении движка резистора R5 из одного крайнего положения в другое изменяется соотношением числа полупериодов напряжения сети, подаваемых и не подаваемых на нагрузку, подключенную к разъему Х1. А так как одному периоду работы управляющего генератора соответствует около 50 полупериодов сетевого напряжения, дискретность регулирования равна примерно 2%.

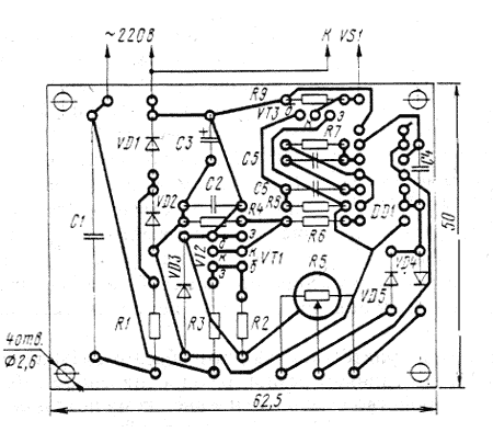
    Все эелементы этого варианта регулятора, кроме симистора VS1, смонтированы на печатной плате размерами 62,5 х 50 мм (рис. 2). Плата рассчитана на установку резисторов МЛТ, конденсаторов К73-16 (С1), К50-6 (С3), КМ-6 (остальные), переменный резистор (R5) СП3-4аМ или СП3-2бМ. Диоды VD1, VD2, VD4 и VD5 - маломощные кремниевые, стабилитрон VD3 - на напряжение стабилизации 10...12 В. Микросхема К561ЛЕ5 заменима на К176ЛЕ5 или КР1561ЛЕ5. Транзисторы VT1 и VT2 могут быть любыми кремниевыми маломощными структуры p-n-p, транзистор VT3 -средней или большой мощности структуры n-p-pn с допустимым коллекторным током 150 мА.

Рис. 2. Печатная плата первого варианта симисторного регулятора

    Конденсатор К73-16 (С1) можно заменить на любой металлопленочный емкостью 0,33...0,68 мкФ на номинальное напряжение не менее 250 В или на бумажный или металлобумажный такой же емкости на номинальное напряжение не менее 400 В. Корпус резистора R5 должен быть соединен с плюсовым проводником цепи питания микросхемы, что необходимо для его экранирования. Симистор КУ208Г (или КУ208В) установлен на штыревом теплоотводе размерами 80 х 60 х 20 мм.

    Предварительно симистор целесообразно проверить на значение тока спрямления, включив его по схеме, приведенной на рис. 3. Напряжение питания анодной цепи симистора должно соответствовать номинальному для лампы накаливания EL1, рассчитанной на рабочий ток не менее 150 мА. Плавно увеличивая ток управляющего электрода симистора (резистором R1), измеряют его значение непосредственно перед включением лампы. Паспортное значение тока спрямления при комнатной температуре равно 150 мА. Для регулятора следует подобрать симистор с током спрямления не более 70 мА (из проверенных автором 15 симисторов лишь один не соответствовал этому требованию).

Рис. 3. Схема включения симистора при его проверке

    Налаживают регулятор следующим образом. Параллельно конденсатору С1 подсоединяют резистор сопротивлением 220...330 Ом и подключают устройство вместо сети к внешнему источнику постоянного тока напряжением 12...15 В. Его подбирают таким, чтобы потребляемый ток был около 20 мА. Установив движок резистора R5 в среднее положение, с помощью осциллографа или головных телефонов (что очень удобно) контролируют на резисторе R9 наличие пачек импульсов частотой около 5 кГц и периодом повторения пачек близким к 0,5 с. При перемещении движка переменного резистора длительность пачек должна изменяться практически от нуля до непрерывной последовательности импульсов.

    Затем снимают дополнительный резистор, к разъему Х1 подключают настольную лампу (установка симистора на теплоотвод не обязательна) и на регулятор подают напряжение сети. При перемещении движка резистора R5 лампа должна вспыхивать с частотой около 2 Гц, а длительность ее вспышек - изменяться от нуля до непрерывного свечения.




 
Впервые? | Реклама на сайте | О проекте | Карта портала
тел. редакции: +7 (995) 900 6254. e-mail:info@eust.ru
©1998-2023 Рынок Микроэлектроники