Поиск по сайту:

 


По базе:  

микроэлектроника, микросхема, микроконтроллер, память, msp430, MSP430, Atmel, Maxim, LCD, hd44780, t6963, sed1335, SED1335, mega128, avr, mega128  
  Главная страница > Схемы




Регуляторы мощности электропаяльника

Регуляторы мощности электропаяльника

    Поддержание жала электропаяльника в надлежащем состоянии - одно из важнейших условий качественного монтажа радиодеталей. Жало паяльника должно быть ровным, без впадин и заусениц. Оно не должно быть перегретым, иначе припой будет будет окисляться и пайка окажется недостаточно прочной. Оптимальной считают такую температуру жала, при которой канифоль не испаряется сразу, а держится на жале в виде расплавленных блесток.

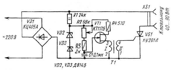
    На рис. 1 представлена схема регулятора, позволяющего в широких пределах изменять подводимую к паяльнику мощность. Его схема во многом аналогична схеме регулятора мощности. Разница лишь в том, что для регулирования здесь использован один тринистор и нагрузка питается постоянным напряжением. Резистор R3 имеет сопротивление около 2 кОм и подбирается при настройке.

    Для изготовления трансформатора мотается кольцевой магнитопровод М2000НМ типоразмера К20 х 10 х 6; все обмотки (две или три) выполнены проводом ПЭВ-2 0,31 и содержат по 30-40 витков.

Схема регулятора мощности электропаяльника

Рис. 1. Схема регулятора мощности электропаяльника

    Тринистор VS1 может быть типов КУ201, КУ202 с буквами К-Н. Диодный мост VD1 - типов КЦ402, КЦ405 с буквами А-В. Остальные детали - те же, что и в мощном тиристорном регуляторе. Аналогично проводится и настойка мощности паяльника.

    Детали регулятора мощности паяльника можно смонтировать на печатной плате из фольгированного стеклотекстолита (рис. 2). Ее помещают в корпус подставки паяльника, изготовленный из фанеры. На верхней крышке корпуса укрепляют ванночки для припоя и флюса, гнезда для подключения паяльника, две пары гнезд для подключения к сети налаживаемых конструкций, переменный резистор R2. Мощность паяльника, подключаемого к регулятору, может составлять 40...90 Вт.

Печатная плата регулятора мощности и размещение деталей на ней

Рис. 2. Печатная плата регулятора мощности и размещение деталей на ней

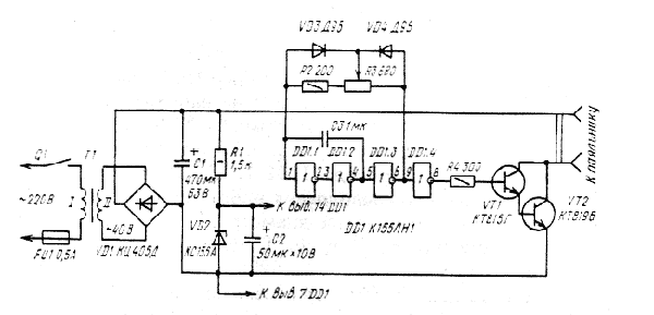
    Для регулирования температуры паяльника напряжением 36 В можно использовать регулятор, схема которого показана на рис. 3. Напряжение сети понижается трансформатором Т1 и выпрямляется мостовым выпрямителем VD1. Пульсации сглаживаются конденсатором С1. На четырех логических элементах микросхемы DD1 собран генератор импульсов с регулируемой скважностью: частота импульсов составляет примерно 100 Гц. Составной транзистор VT1VT2 усиливает импульсы генератора по напряжению и току. Регулируя скважность импульсов, изменяют среднее значение тока через паяльник и температуру его жала.

Рис. 3. Схема транзисторного регулятора мощности паяльника

    В качестве микросхемы DD1 можно использовать также К155ЛА3, К155ЛЕ1 и их аналоги из серии К133, К158, КР1531, К555. Транзистор VT1 - КТ608 (А,Б), КТ3117 (А); VT2 - КТ819 (Б,В), КТ817 (Б-Г). Конденсатор С1 - типа К50-29, С2 - К50-16, С3 - КМ-6. Трансформатор Т1 имеет магнитопровод ШЛ20х20. Обмотка I содержит 2000 витков провода ПЭВ-2 0,31, обмотка II - 365 витков провода ПЭВ-2 0,67.

    Достоинством данного регулятора перед аналогичным тринисторным регулятором является возможность регулирования мощности паяльника при питании его от источника постоянного напряжения (например, от аккумуляторов в полевых условиях). В этом случае отпадает надобность в трансформаторе Т1, выпрямителе VD1.






 
Впервые? | Реклама на сайте | О проекте | Карта портала
тел. редакции: +7 (995) 900 6254. e-mail:info@eust.ru
©1998-2023 Рынок Микроэлектроники