Поиск по сайту:

 


По базе:  

микроэлектроника, микросхема, микроконтроллер, память, msp430, MSP430, Atmel, Maxim, LCD, hd44780, t6963, sed1335, SED1335, mega128, avr, mega128  
  Главная страница > Компоненты >Texas Instruments




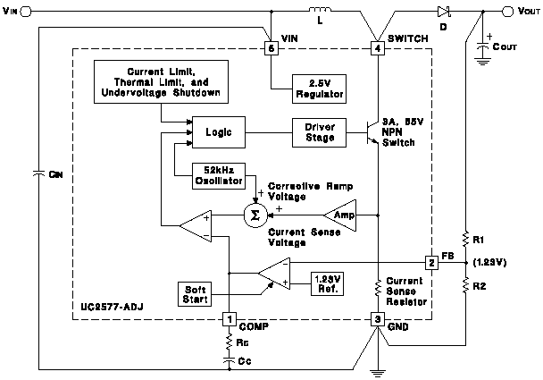
UC2577-ADJ, регулируемый ШИМ преобразователь

Параметр Значение
VCC (max) (V) 40
VCC (min) (V) 3
VOUT (max) (V) 60
VOUT (min) (V) 5
Нестабильность VOUT (%) 5
Выходной ток (mA) 800
КПД (typ) (%) 75
Iq (typ) (mA) 45
Switching Frequency (max) (kHz) 52

Архитектура микросхемы UC2577:

Описание микросхемы:

  179 Kb Engl Описание микросхемы
    Получить консультации и преобрести компоненты вы сможете у официальных поставщиков фирмы Texas Instruments,

поставщики электронных компонентов






 
Впервые? | Реклама на сайте | О проекте | Карта портала
тел. редакции: +7 (995) 900 6254. e-mail:info@eust.ru
©1998-2023 Рынок Микроэлектроники