Поиск по сайту:

 


По базе:  

микроэлектроника, микросхема, микроконтроллер, память, msp430, MSP430, Atmel, Maxim, LCD, hd44780, t6963, sed1335, SED1335, mega128, avr, mega128  
  Главная страница > Обзоры по типам > Датчики > Температуры




Микросхемы-термодатчики К1019EM1, K1019EM1A

Микросхемы-термодатчики К1019EM1, K1019EM1A

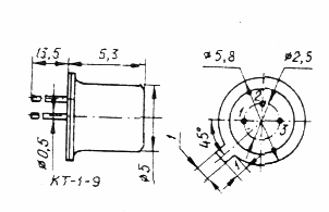
    Эти микросхемы представляют собой термодатчики с линейной зависимостью выходного напряжения от температуры. Они предназначены для работы в устройствах контроля, измерения и регулирования температуры. Микросхемы оформлены в металлостеклянном корпусе КТ-1-9 с гибкими проволочными лужеными выводами (рис. 1); масса прибора - не более 1,5 г.

Рис. 1. Корпус микросхем K1019EM1, K1019EM1A

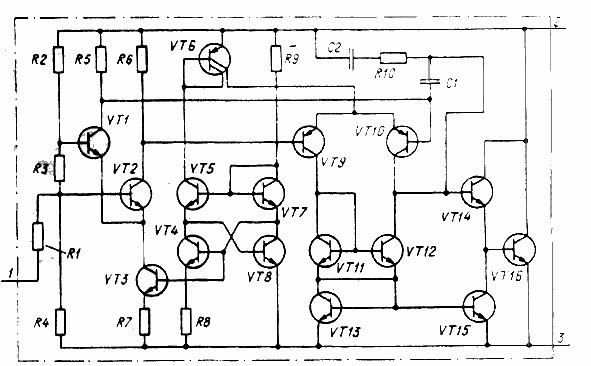
    Датчик по свойствам подобен стабилитрону с малым дифференциальным сопротивлением и со стабильным и нормированным плюсовым температурным коэффициентом напряжения (ТКН). Приниципиальная схема прибора показана на рис. 2. Цоколевка:

  • вывод 1 - подключение цепи калибровки
  • вывод 2 - плюсовой вывод датчика
  • вывод 3 - минусовый вывод датчика, корпус микросхемы

    Рис. 2. Принципиальная схема микросхем K1019EM1, K1019EM1A

        Часто для построения датчика температуры используют свойство p-n-перехода, заключающееся в том, что падение напряжения на нем линейно зависит от его теппературы. ТКН p-n-перехода отрицателен и имеет типовое значение 2 мВ/°С.

        Недостатком p-n-перехода как датчика температуры является довольно большое дифференциальное сопротивление (25...30 Ом при токе 1 мА). По этой причине для достижения мало-мальски приемленмых характеристик датчика p-n-переход необходимо питать от стабилизатора тока. Кроме того, ни у одного диода не нормированы ни сам ТКН, ни его стабильность,что серьезно затрудняет их применение в качестве термодатчиков, особенно в промышленной аппаратуре.

        Работа датчика К1019ЕМ1 основана на зависимости от температуры разности значений напряжения на эммитерном переходе UБЭ двух транзисторов с разной плотностью эммитерного тока. Эта разность UБЭ при заданном соотношении значений площади эмиттера транзисторов и равном токе через них (это и обеспечивает разную плотность тока) оказывается пропорциональной обсолютной температуре кристалла:

    UБЭ = kTKlnM/q

        Здесь M = S2/S1 - отношение значений площади эмиттера транзисторов VT1 и VT2 (схема на рис. 2); k - постоянная Больцмана; ТК - абсолютная температура; q - заряд электрона.

        На транзисторах VT1, VT2 собран первый дифференциальный усилитель, а на VT9, VT10 - второй, управляемый сигналами первого. Транзисторы VT3 - VT8 образуют два генератора тока, один питает первый дифференциальный усилитель, а другой - второй. На транзисторах VT11 и VT12 собрано "токовое зеркало", служащее динамической нагрузкой второго дифференциального усилителя.

        Выходной сигнал с нагрузки второго усилителя через эмиттерный повторитель (VT14) поступает на базу выходного транзистора VT16. Конденсаторы С1, С2 и резистор R10 обеспечивают устойчивость работы узла.

        Условием баланса первого дифференциального усилителя является равенство значений коллекторного тока транзисторов VT1, VT2. Поскольку площади эмиттерного перехода этих транзисторов различаются в 10 раз, для балансирования усилителя на его вход подано напряжение UБЭ = kTKln10/q.

        При питании микросхемы током 1...5 мА возникает отрицательная ОС по напряжению с выхода усилителя через делитель R2R3R4 на его вход. Эта связь устанавливает на выводах 2 и 3 микросхемы напряжение, пропорциональное разности падений напряжения на эмиттерном переходе транзисторов VT1 и VT2, с коэффициентом пропорциональности (R2 + R3 + R4)/R3.

        Поскольку разность UБЭ пропорциональна абсолютной температуре, ей же пропорционально и напряжение на выводах 2 и 3 микросхемы. Таким образом, ТКН датчика равен 10 мВ/К; он вяляется здесь и коэффициентом пропорциональности между выходным напряжением датчика и абсолютной температурой.

        Для обеспечения высокой линейности преобразования и малого выходного сопротивления микросхемы (менее 1 Ом) усилитель имеет высокий коэффициент усиления - более 40 000.

    Основные электрические характеристики датчика

    Ток питания, мА 1
    Выходное напряжение, мВ при токе питания 1 мА и температуре
    298 К (25°С)
    398 К (125°С)
    263 К (-10°С) для К1019ЕМ1А
    228 К (-45°С) для К1019ЕМ1

    2952...3012
    3932...4032
    2582...2682
    2232...2332
    Предельно допустимый эксплуатационный режим:
    Ток питания, мА 0,5...1,5
    Рабочий температурный интервал, °С, для
    К1019ЕМ1
    К1019ЕМ1А

    -45...+125
    -10...+125


    Рис. 3. Зависимость дифференциального сопртивления от температуры

    Рис. 4. Зависимость дифференциального сопротивления от тока питания

        На рис 3 и 4 показаны типовые зависимости дифференциального сопртивления микросхем от температуры окружающей среды (при токе питания 1 мА) и тока питания (при темепературе окружающей среды 25°С) соответственно. На обоих графиках заштрихованы области технологического разбросадля 95% микросхем. На рис. 5 представлена типовая зависимость выходного напряжения (между выводами 2 и 3) от температуры окружающей среды.

    Рис. 5. Зависимость выходного напряжения датчика от температуры окружающей среды

        Благодаря малому дифференциальному сопртивлению датчика его можно питать от источника напряжения (не менее 10 В) через последовательный резистор, сопротивление которого в килоомах должно быть на 3 кОм меньше значения Uпит в вольтах.

    Рис. 6. Типовая схема включения датчика

        Но, чтобы в наибольшей степени реализовать возможности микросхемы, ее обычно питают от стабилизатора тока. Типовая схема включения датчика изображено на рис. 6. Генератор тока, собранный на транзисторах VT1, VT2, должен обеспечить ток через микросхему Iпит = 1 мА. Ток устанавливают подборкой резистора R3. Отправное значение сопротивления этого резистора (в килоомах) можно рассчитать по формуле:

    R3 = Uпит - 1,7

        Где Uпит - в вольтах.

        С целью повышения точности измерения температуры в микросхеме предусмотрена цепь калибровки. При калибровке датчика подстроечным резистором R4 устанавливают по цифровому вольтметру выходное напряжение (в милливольтах) Uвых = 10ТК, где ТК - температура в градусах Кельвина. Температуру также необходимо измерять точным термометром.

    Рис. 7. Схема термометра с микросхемой К1019ЕМ1

        На рис. 7 показана схема термометра, позывающего температуру в градусах Цельсия. Вольтметр PV1 (стрелочный или цифровой) включен в цепь источника образцового напряжения G1. Стрелочный вольтметр для измерения и плюсовой, и минусовой температуры должен иметь шкалу с нулем посредине (в цифровом знак температуры, как правило, устанавливается автоматически). Точность измерения температуры здесь сильно зависит от стабильности образцового напряжения - изменение его на 0,1% (на 2,7 мВ) вызовет изменение показания на 0,27°С.





  •  
    Впервые? | Реклама на сайте | О проекте | Карта портала
    тел. редакции: +7 (995) 900 6254. e-mail:info@eust.ru
    ©1998-2023 Рынок Микроэлектроники